



對夾雙辯蝶式止回閥用于公稱壓力PNl.0MPa~42 0MPa、Classl50~2500;公稱通徑DNl5~1200mm、NPsl/2—48.工作溫度一l96—540℃的各種管路上,月于防止介質剖流。通過選月不同的材質.可適月于水、蒸汽、油品、硝酸、強氧化性介質及尿素等多種介質。
|
結構形式 |
H76型對夾雙瓣旋啟式止回閥 |
H44型法蘭單瓣旋啟式止回閥 |
|
水錘壓力 |
小.閥瓣行程短、且有彈簧輔助關閉、關閥速度快 |
很大,閥瓣行程,需要較長的關閉時間 |
|
H76型的水錘壓力只有H44型的1/2—1/5 |
||
|
尺寸和重量 |
結構長度很短、體積小、重量輕、為閥門的安裝、搬運、存放及管道在布置帶來很大的便利,并能大量節約材料、降低造價 |
結構長度很長,體積笨大.重量很重 |
|
H76型的結構長度只有H44型的1/4~1/10 H76型的重量只有H44型的l/4~1/10 |
||
|
流體阻力 |
小,流體阻力系數為2.6~0.7,隨著閥門口徑的增大,流體組力系數減小 |
?小,流體阻力系數為1.3~3,但在低壓工況下,閥瓣不能完且開啟,流體阻力大。流體阻力隨著閥門口徑的增大而增大 |
|
安裝 |
可水平安裝或垂直安裝,重量輕.不必為閥門設置支座 |
可水平安裝或垂直安裝.大口徑閥閥重量重,需設置支座 |
|
開啟壓力 |
很小.閥瓣在很小的壓差下就能完全打開 |
較大,閥瓣在較大的壓差下才能完全打開 |
|
可靠性 |
閥門為整體結構、簡單緊湊,閥門關閉時沖擊力注,水錘壓力小,閥門幫命長,可靠性高 |
閥門關時的巨大沖擊力及水錘壓力容易損壞閥門 |
.jpg)
四、升降式止回閥對比
結構形式 H71型對夾升降式止回閥 H41型法蘭升降式止回閥 水錘壓女 很小、閥瓣行程短、閥瓣輕巧、且有彈簧輔助關閉、關閥速度很快 水、閥瓣行程短,但無彈簧輔助關閉 尺寸和重量 結構長度很短、體積很小、重量很徑、為閥門的安裝、搬運、存放及管道的布置帶來很大的便利,關能大量節約材料、降低造價 結構長度很長,體積較大、重量很重 H71型的結構長度只有H41型的1/4~1/8,H71型的重量只有H41型1/7~1/20 流體阻力 較大、流體阻力系數為6.4~2.8 很體阻力系數為12~6 安裝 可水平安裝或垂直安裝,重量很輕,安裝容易 只能水平安裝,口徑較大的閥門重量,較難安裝 開啟壓力 很小、閥瓣在很小的壓差下就能完全打開 較小、閥瓣重量較大,需要一定的壓差才能半閥瓣完全打開 可靠性 閥門為整體結構,簡單緊湊,閥門關閉時沖擊為小,水錘壓力很小,閥門壽命長,可靠性高 可靠性較高,但閥門由閥體與閥蓋兩本構成,多了一個潛在的泄漏點
的當量體積流量Vw與實際流體的
體積流量V按下式換算:
![]()
式中:Vw一水的當量體積流量。l/s;
P流體密度,k9/m 3
v一實際流體的體積流量,l/s。


|
公稱通徑 |
閥門全開啟時的流體阻力系數 |
常溫下閥門全開啟時的水流量系數 |
流體的流向 |
||||
|
DN |
DNS |
||||||
|
Kv(m3/h) |
CV(U.S) |
CV(U.K) |
↑ |
→ |
|||
|
開啟壓力近似值KPa |
|||||||
|
50 |
5 |
2.6 |
63 |
74 |
62 |
2 |
1 |
|
65 |
21/2 |
2.4 |
109 |
128 |
107 |
2 |
1 |
|
80 |
3 |
2.3 |
172 |
201 |
169 |
2 |
1 |
|
100 |
4 |
2.0 |
289 |
338 |
283 |
2 |
1 |
|
125 |
5 |
1.8 |
476 |
557 |
466 |
2 |
1 |
|
150 |
6 |
1.5 |
750 |
878 |
735 |
2 |
1 |
|
200 |
8 |
1.3 |
1432 |
1675 |
1403 |
2 |
1 |
|
250 |
10 |
1.2 |
1330 |
2726 |
2283 |
2 |
1 |
|
300 |
12 |
1.0 |
3676 |
4301 |
3602 |
2 |
1 |
|
350 |
14 |
0.9 |
5274 |
6171 |
5169 |
2 |
1 |
|
400 |
16 |
0.8 |
7306 |
8548 |
7160 |
3 |
1 |
|
450 |
18 |
0.8 |
9246 |
10818 |
9061 |
3 |
1 |
|
500 |
20 |
0.8 |
11415 |
13356 |
11187 |
3 |
1 |
|
600 |
24 |
0.7 |
17573 |
20560 |
17222 |
3 |
1 |
|
700 |
28 |
0.7 |
23919 |
27985 |
23441 |
4 |
1 |
|
750 |
30 |
0.7 |
27458 |
32126 |
26909 |
4 |
1 |
|
800 |
32 |
0.7 |
31241 |
36552 |
30316 |
4 |
1 |
|
900 |
36 |
0.7 |
39539 |
46261 |
38748 |
4 |
1 |
|
1000 |
40 |
0.7 |
48814 |
57112 |
47838 |
4 |
1 |
|
1050 |
42 |
0.7 |
53817 |
62966 |
52741 |
4 |
1 |
|
1200 |
48 |
0.7 |
70292 |
82242 |
68886 |
||

|
配管法蘭 |
公稱壓力 |
常規產品型號 |
||||||
|
JB/T74~90 |
PN1.0MPa |
H76H-10C |
H76W-10P |
H76W-10P8 |
H76W-10P3 |
H76W-10R |
H76W-10R8 |
H76W-10R3 |
|
PN1.6MPa |
H76H-16C |
H76W-16P |
H76W-16P |
H76W-16P3 |
H76W-16R |
H76W-16R8 |
H76W-16R3 |
|
|
PN2.5MPa |
H76H-25 |
H76W-25P |
H76W-25P8 |
H76W-25P3 |
H76W-25R |
H76W-25R8 |
H76W-25R3 |
|
|
PN4.0MPa |
H76H-40 |
H76W-40P |
H76W-40P8 |
H76W-40P3 |
H76W-40R |
H76W-40R8 |
H76W-40R3 |
|
|
PN6.3MPa |
H76H-63 |
H76W-63P |
H76W-63P8 |
H76W-63P3 |
H76W-63R |
H76W-63R8 |
H76W-63R3 |
|
|
PN10.0MPa |
H76H-100 |
H76W-100P |
H76W-100P8 |
H76W-100P3 |
H76W-100R |
H76W-100R8 |
H76W-100R3 |
|
|
PN13.0MPa |
H76H-160 |
H76W-160P |
H76W-160P8 |
H76W-160P3 |
H76W-160R |
H76W-160R8 |
H76W-160R3 |
|
|
PN20.0MPa |
H76H-200 |
H76W-200P |
H76W-200P8 |
H76W-200P3 |
H76W-200R |
H76W-200R8 |
H76W-200R3 |
|
|
PN25.0MPa |
H76H-250 |
H76W-250P |
H76W-250P8 |
H76W-250P3 |
H76W-250R |
H76W-250R8 |
H76W-250R3 |
|
|
GB/T9112~9124 |
PN2.0MPa |
H76H-20C |
|
H76W-20P8 |
H76W-20P3 |
|
H76W-20R8 |
H76W-20R3 |
|
PN5.0MPa |
H76H-50 |
|
H76W-50P8 |
H76W-50P3 |
|
H76W-50R8 |
H76W-50R3 |
|
|
PN11.0MPa |
H76H-110 |
|
H76W-110P8 |
H76W-110P3 |
|
H76W-110R8 |
H76W-110R3 |
|
|
PN15.0MPa |
H76H-150 |
|
H76W-150P8 |
H76W-150P3 |
|
H76W-150R8 |
H76W-150R3 |
|
|
PN26.0MPa |
H76H-260 |
|
H76W-260P8 |
H76W-260P3 |
|
H76W-260R8 |
H76W-260R3 |
|
|
PN42.0MPa |
H76H-420 |
|
H76W-420P8 |
H76W-420P3 |
|
H76W-420R8 |
H76W-420R3 |
|
|
|
Class150 |
H76H-A1C |
|
H76W-A1P8 |
H76W-A1P3 |
|
H76W-A1R8 |
H76W-A1R3 |
|
Class300 |
H76H-A3 |
|
H76W-A3P8 |
H76W-A3P3 |
|
H76W-A3R8 |
H76W-A3R3 |
|
|
Class600 |
H76H-A6 |
|
H76W-A6P8 |
H76W-A6P3 |
|
H76W-A6R8 |
H76W-A6R3 |
|
|
Class900 |
H76H-9 |
|
H76W-9P8 |
H76W-9P3 |
|
H76W-9R8 |
H76W-9R3 |
|
|
Class1500 |
H76H-15 |
|
H76W-15P8 |
H76W-15P3 |
|
H76W-15R8 |
H76W-15R3 |
|
|
Class2500 |
H76H-A25 |
|
H76H-A25P8 |
H76H-A25P3 |
|
H76H-A25R8 |
H76H-A25R3 |
|
|
主要 |
閥體 |
WCB(A105) |
ZG1Cr18Ni9Ti |
CFB(304) |
CF3(304L) |
ZG1Cr18Ni12Mo2Ti |
CF8M(316) |
CF3M(316M) |
|
閥擗 |
CF8 |
CF8 |
CF8 |
CF3 |
CF9M |
CF8M |
CF3M |
|
|
目軸 |
2Cr13 |
1Cr18Ni9Ti |
0Cr18Ni9 |
00Cr19Ni10 |
ZG1Cr18Ni12Mo2Ti |
0Cr17Ni12Mo2 |
00Cr17Ni14Mo2 |
|
|
彈簧 |
0Cr18Ni9 |
0Cr18Ni9 |
0Cr18Ni9 |
00Cr19Ni10 |
00Cr17Ni14Mo2 |
00Cr17Ni14Mo2 |
00Cr17Ni14Mo2 |
|
|
適用工況 |
適月介質 |
水、蒸汽、 |
硝酸等腐蝕性介質 |
強氧化性介質 |
醋酸等腐蝕性介質 |
屎素等腐 |
||
|
適用溫度(℃) |
-29~425 |
-196~540 |
-196~425 |
-196~540 |
||||
|
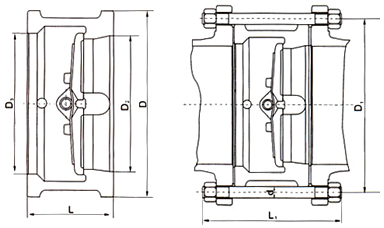
壓力級 |
公稱通徑 |
R寸Cmm) |
|
配管法蘭(供參考) |
|||||||||
|
NPS |
DN |
L |
D |
D3 |
D2 |
重量(Kg) |
螺栓孔中心口直徑D1 |
螺栓 |
螺栓直徑d |
螺栓長度L |
|||
|
in |
mm |
RI |
RJ |
||||||||||
|
Cllass150 |
2 |
50 |
60 |
103 |
56 |
51 |
2 |
120.5 |
4 |
5/8 |
M16 |
140 |
155 |
|
21/2 |
65 |
67 |
122 |
73 |
65 |
3 |
139.5 |
4 |
5/8 |
M16 |
150 |
165 |
|
|
3 |
80 |
73 |
135 |
88 |
80 |
4 |
152.5 |
4 |
5/8 |
M16 |
160 |
175 |
|
|
4 |
100 |
73 |
173 |
108 |
102 |
6 |
190.5 |
8 |
5/8 |
M16 |
170 |
185 |
|
|
5 |
125 |
86 |
195 |
132 |
127 |
8 |
216.0 |
8 |
3/4 |
M20 |
190 |
205 |
|
|
6 |
150 |
98 |
220 |
160 |
152 |
13 |
241.5 |
8 |
3/4 |
M20 |
205 |
220 |
|
|
8 |
200 |
127 |
277 |
210 |
203 |
25 |
298.5 |
8 |
3/4 |
M20 |
240 |
255 |
|
|
10 |
250 |
146 |
337 |
266 |
254 |
39 |
362.0 |
12 |
7/8 |
M24 |
270 |
285 |
|
|
12 |
300 |
181 |
407 |
310 |
305 |
54 |
432.0 |
12 |
7/8 |
M24 |
310 |
325 |
|
|
14 |
350 |
184 |
448 |
355 |
350 |
80 |
476.0 |
12 |
1 |
M27 |
325 |
340 |
|
|
16 |
400 |
191 |
512 |
405 |
400 |
117 |
540.0 |
16 |
1 |
M27 |
340 |
355 |
|
|
18 |
450 |
203 |
547 |
455 |
450 |
138 |
578.0 |
16 |
11/8 |
M30 |
365 |
380 |
|
|
20 |
500 |
319 |
604 |
505 |
500 |
163 |
635.0 |
20 |
11/8 |
M30 |
385 |
400 |
|
|
24 |
600 |
222 |
715 |
605 |
600 |
331 |
749.5 |
20 |
3/4 |
M33 |
405 |
420 |
|
|
28 |
700 |
305 |
773 |
700 |
700 |
380 |
795.5 |
40 |
3/4 |
M20 |
455 |
- |
|
|
30 |
750 |
305 |
824 |
750 |
746 |
425 |
846.0 |
44 |
3/4 |
M20 |
455 |
- |
|
|
32 |
800 |
305 |
878 |
800 |
796 |
560 |
900.0 |
48 |
7/8 |
M20 |
460 |
- |
|
|
36 |
900 |
368 |
983 |
910 |
898 |
640 |
1009.5 |
44 |
1 |
M24 |
540 |
- |
|
|
42 |
1050 |
432 |
1142 |
1055 |
1050 |
960 |
1171.5 |
48 |
11/8 |
M27 |
625 |
- |
|
|
48 |
1200 |
524 |
1302 |
1205 |
1200 |
1400 |
1335.0 |
44 |
5/8 |
M30 |
740 |
- |
|
|
Class300 |
2 |
50 |
60 |
110 |
58 |
51 |
3 |
127.0 |
8 |
3/4 |
M16 |
155 |
175 |
|
21/2 |
65 |
67 |
128 |
73 |
65 |
4 |
149.0 |
8 |
3/4 |
M20 |
175 |
195 |
|
|
3 |
80 |
73 |
147 |
88 |
80 |
6 |
168.5 |
8 |
3/4 |
M20 |
190 |
210 |
|
|
4 |
100 |
73 |
179 |
108 |
102 |
8 |
200.0 |
8 |
3/4 |
M20 |
195 |
215 |
|
|
5 |
125 |
86 |
214 |
132 |
127 |
15 |
235.0 |
8 |
3/4 |
M20 |
215 , |
235 |
|
|
6 |
150 |
98 |
249 |
160 |
152 |
18 |
270.0 |
12 |
3/4 |
M20 |
230 |
250 |
|
|
8 |
200 |
127 |
305 |
210 |
203 |
31 |
330.0 |
12 |
7/8 |
M24 |
280 |
300 |
|
|
10 |
250 |
146 |
359 |
266 |
254 |
51 |
387.5 |
16 |
1 |
M27 |
315 |
335 |
|
|
12 |
300 |
181 |
420 |
310 |
305 |
77 |
451.0 |
16 |
11/8 |
M30 |
365 |
385 |
|
|
14 |
350 |
222 |
483 |
355 |
350 |
117 |
514.5 |
20 |
11/8 |
M30 |
410 |
430 |
|
|
16 |
400 |
232 |
537 |
405 |
400 |
190 |
571.5 |
20 |
11/4 |
M33 |
435 |
455 |
|
|
18 |
450 |
264 |
594 |
455 |
450 |
200 |
628.5 |
24 |
11/4 |
M33 |
475 |
495 |
|
|
20 |
500 |
292 |
652 |
505 |
500 |
265 |
686.0 |
24 |
11/4 |
M33 |
510 |
535 |
|
|
24 |
600 |
318 |
772 |
608 |
600 |
410 |
813.0 |
24 |
11/2 |
M39 |
560 |
585 |
|
|
30 |
750 |
368 |
882 |
740 |
735 |
660 |
921.0 |
36 |
13/8 |
M36 |
650 |
- |
|
|
36 |
900 |
483 |
1044 |
880 |
873 |
1020 |
1089.0 |
32 |
15/8 |
M42 |
800 |
- |
|
|
42 |
1050 |
568 |
1196 |
1045 |
1035 |
1540 |
1244.5 |
36 |
13/4 |
M45 |
920 |
- |
|
|
48 |
1200 |
629 |
1365 |
1190 |
1179 |
2260 |
1416.0 |
40 |
17/8 |
M48 |
1010 |
- |
|